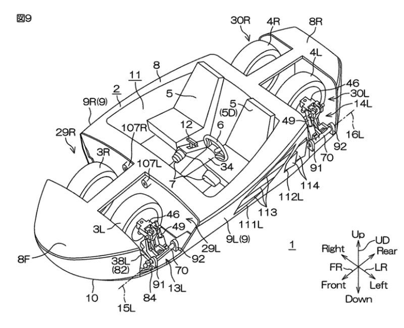
Todo indica que el fabricante japonés Yamaha, cuya especialidad son las motocicletas, está en plena fase de desarrollo de una especie de vehículo anfibio, capaz de desplazarse tanto por tierra como por mar. Estas informaciones se desprenden de la última presentación de la marca en la oficina de patentes de Japón. Se trata de unos bocetos en los que se puede observar claramente un automóvil con la capacidad de ´esconder´ las ruedas en su carrocería para navegar.
Traducido del japonés, el objetivo de la patente es «proporcionar un vehículo que incluye una estructura que permite el almacenamiento de las ruedas en la propia carrocería sin necesidad de tener una gran anchura». Como propulsor incorporaría «un motor de propulsión acuática que le proporciona la fuerza que impulsa al vehículo mencionado en dicha superficie».

Todavía no se ha confirmado ni desmentido la fabricación en serie de este coche anfibio, por lo que se desconoce si llegará a producción. Sea como fuere, parece que Yamaha estaría interesado en abrir nuevos nichos de mercado e introducirse tanto en la industria del automóvil como en los deportes con vehículos, algo en lo que este último podría encajar.

Síguenos en redes sociales
Síguenos en nuestras redes X, Facebook, TikTok e Instagram, o en nuestro canal de YouTube donde te ofrecemos contenidos exclusivos. Y si te apuntas a nuestra Newsletter recibirás las noticias más destacadas del motor.
Recibe nuestras noticias más recientes en tu correo
Te enviamos nuestra Newsletter cada semana con contenido destacado



